KB0039239
Branchements IP5000
Sommaire :
Niveau : Débutant
Branchement sans alimentation
La pieuvre IP5000 peut fonctionner sans alimentation si vous possédez un switch POE. Il suffit pour cela de brancher le câble RJ45 sur le port LAN de la pieuvre.

Une fois branchée, l'écran de la pieuvre doit s'allumer.
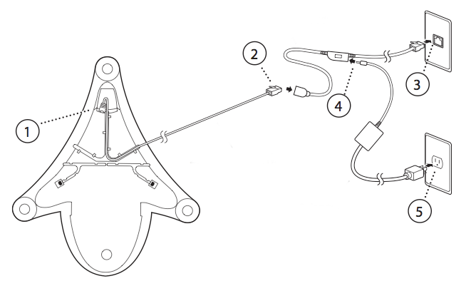
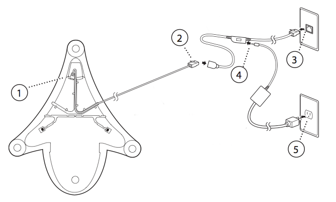
Branchement avec alimentation
Vous pouvez acheter l'alimentation pour la pieuvre en accessoire. Si c'est le cas, le branchement est alors différent :

- Raccordez votre câble Ethernet sur le port LAN de votre pieuvre.
- Raccordez l'extrémité de votre câble Ethernet sur le port RJ45 de l'alimentation.
- Branchez le câble Ethernet mâle de l'alimentation sur votre switch ou routeur.
- Branchez le connecteur de l'alimentation sur le câble Ethernet de l'alimentation.
- Branchez la prise électrique sur circuit.
Aller plus loin
Échangez avec notre communauté d'utilisateurs.